名稱:SSJB(AY)型壓蓋式松套伸縮接頭
壓蓋式松套伸縮接頭性能特點:
SSJB(AY)型壓蓋式松套伸縮接頭是在松套伸縮接頭原有性能的基礎上,增設限位裝置,在壓蓋式松套限位伸縮接頭最大伸縮量處用雙螺母鎖定。這樣就實現管道在允許的伸縮量中可以自由伸縮,一旦超過壓蓋式松套限位伸縮接頭最大伸縮量,就起到限位,這樣就有效的確保壓蓋式松套限位伸縮接頭管道的安全運行,特別適用于有震動或有一定斜度及在拐彎的管路中的選擇。
壓蓋式松套限位伸縮接頭安裝注意事項:
SSJB(AY)型壓蓋式松套伸縮接頭適用于兩邊與管子插接,無需焊接,機構合理,密封可靠,安裝快捷方便。
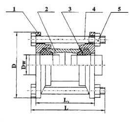
SSJB(AY)型壓蓋式松套伸縮接頭材料表
序號 | 名稱 | 數量 | 材料 |
1 | 壓蓋 | 2 | QT400-15、Q235A、ZG230-450、1Cr13、20 |
2 | 套筒 | 1 | Q235A、20、16Mn、1Cr18Ni9Ti |
3 | 密封圈 | 2 | NBR、CR、FPM、NR |
4 | 螺柱 | n | Q235A、35、1Cr18Ni9Ti |
5 | 螺母 | n | Q235A、20、1Cr18Ni9Ti |
SSJB(AY)型壓蓋式松套伸縮接頭基數據表
公稱通徑DN | 管子外徑DW | 外形尺寸 | n-Th | |||
L1 | L | D | 0.25-1.6Mpa | 2.5-6.4Mpa | ||
65 | 76 | 180 | 208 | 155 | 4-M12 | 4-M12 |
80 | 89 | 165 | ||||
100 | 108 | 190 | 4-M16 | |||
114 | 195 | |||||
125 | 133 | 215 | ||||
140 | 225 | |||||
150 | 159 | 220 | 245 | 4-M16 | 6-M16 | |
168 | 255 | |||||
200 | 219 | 310 | ||||
250 | 273 | 223 | 375 | 6-M20 | 8-M20 | |
300 | 325 | 220 | 273 | 440 | ||
350 | 355 | 470 | 8-M20 | 10-M20 | ||
377 | 490 | |||||
400 | 406 | 520 | ||||
426 | 540 | |||||
450 | 457 | 570 | 10-M20 | 12-M20 | ||
480 | 590 | |||||
500 | 508 | 625 | ||||
530 | 645 | |||||
600 | 61O | 730 | ||||
630 | 750 | |||||
700 | 720 | 850 | 12-M20 | 14-M20 | ||
800 | 820 | 290 | 355 | 965 | 12-M24 | 16-M24 |
900 | 920 | 1065 | 14-M24 | 18-M24 | ||
1000 | 1020 | 1165 | ||||
1200 | 1220 | 1365 | 16-M24 | 20-M24 | ||
1400 | 1420 | 377 | 1590 | 18-M24 | 24-M27 | |
1500 | 1520 | 1690 | ||||
1600 | 1620 | 1795 | 20-M27 | 28-M27 | ||
1800 | 1820 | 2000 | 22-M27 | 32-M30 | ||
2000 | 2020 | 2200 | 24-M27 | 32-M30 | ||
2200 | 2220 | 400 | 2420 | 26-M30 | ||
2400 | 2420 | 2635 | 28-M30 | |||
2600 | 2620 | 400 | 2835 | 30-M30 | ||
2800 | 2820 | 3040 | 32-M33 | |||
3000 | 3020 | 3240 | 34-M33 | |||
3200 | 3220 | 3440 | 36-M33 | |||
3400 | 3420 | 490 | 3640 | 38-M33 | ||
3600 | 3620 | 3860 | 40-M33 |
上一篇:【SSJB-3(BY)型壓蓋式限位伸縮接頭】
下一篇:【VSSJA/AF型法蘭松套伸縮接頭】
豫公網安備 41910102000522號
地址:鞏義市永安路南段 0371-64393352 64580820 傳 真:0371-64031200 手 機:15903663076